浮动式球阀:球阀的结构形式需要满足的原则

2022-08-30 12:59作者:上海沪冠阀门浏览数:23 

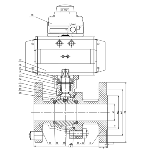
浮动球球阀按阀体的结构形式可分侧装式阀体和上装式阀体两大类。侧装式阀体又可分为整体式、两片式和三片式。无论是哪一种结构,他们均需要满足一些基本原则。


QQ截图20220830131950.png


1.阀杆应倒装,防吹出结构。这是ANSI B16.34第6.5.1.1节的规定,阀门的结构其阀杆应不是靠填料压盖紧固件来限制它的位置,准确地说,在阀门承压状态下,阀杆不会因阀杆密封紧固件的松开而脱离阀门。这是从阀门安全使用角度必须保证的基本条件。


2.防静电结构,是由一个不锈钢球和一个弹簧组成,一组置于阀杆端部的孔内,保持与球体接触;另一组置于阀杆的圆柱体上,保持与阀体接触,使可能产生的静电从阀体导走。


3.失火安全(fire-safe)的结构设计,主、副阀体当四氟塑料密封座因失火烧损时,应与球体相接触,并保持一定程度的密封;主、副阀体的连接面应采用具有失火安全功能的垫片,如金属缠绕式垫片;在阀杆填料密封处,当填料(PTFE)被烧损后,应有一石墨环阻止介质向外泄漏。


4.应有一限位机构,准确限制球体处在“开”或“关”的位置上。


5.在阀体上应有可供安装气动、电动、蜗轮传动执行器支架的平台


在线客服
 
 
 工作时间
周一至周五 :8:00-17:00
周六至周日 :9:00-14:00
 联系方式
客服热线:18117325678
邮箱:3287652427@qq.com